继与顺德实现高频政务服务事项“跨域通办”合作后,南头镇在与江门恩平市对口开展产业协作之际,主动对接恩平市政务服务管理部门,推动南头镇与恩平市在政务服务领域达成“跨域通办”合作,实现两地企业和群众“进一扇门、办两地事”。
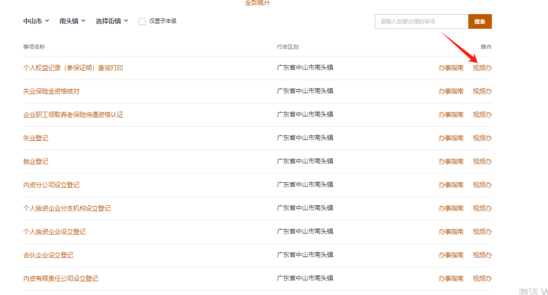
南头镇于6月中旬与恩平市政务服务管理部门签订了《政务服务“跨域通办”合作协议》,确定了两地通办的108个高频事项,涵盖商事登记、食品药品、出入境、社保医保、社会帮扶等类别的业务。线上依托广东政务服务网“跨域通办专区”,线下在两地政务服务中心设“跨域通办”窗口,积极拓展异地代收转办,提供“跨域通办”服务。南头镇与恩平市政务服务管理部门建立定期会商机制,对于需解决的问题共同研究、探讨制定对应的工作措施,持续深入推进相关合作。 此外,为更好解决企业、群众没时间到窗口办事、网上办事不会操作等问题,节省企业、群众的办事时间,南头镇政务服务中心逐步推动更多高频事项上线“视频办”。截至7月10日,南头镇已上线“视频办”的高频事项达24项,涵盖卫生、医保、社保、商事登记、工程类等业务,通过向企业、群众“零距离”实时演示线上办事流程实现申报精准辅导,利用投屏互动在线指导办事人填写表单、准备材料,清晰明确地指出材料审核要点,让办事人远程即享窗口式服务。 接下来为大家介绍 “跨域通办”“视频办”的操作流程 ↓↓↓ 南头与恩平、顺德之间 “跨域通办”事项查询与申办流程 1.登录广东政务服务网中山站 (网址:https://www.gdzwfw.gov.cn/?region=442000); 2.在“特色服务”栏目中找到“跨域通办专区”; 3.选择“镇街专栏”——“南头镇”; 4.即可选择“通办区域”,查找或办理有关事项。 “视频办”操作流程(电脑端操作) 1.登录广东政务服务网(网址:https://www.gdzwfw.gov.cn/),在“特色创新”栏目找到“视频办服务专区”,并点击进入; 2.在“您办我帮”的界面,选择所属镇街后,再点选“查看更多”; 3.选择办理事项后,点选后面对应的“视频办”按键; 4.以“个人权益记录(参保证明)查询打印”为例,选择预约日期、预约时间段后,勾选“我已了解并清楚《用户须知》”,再提交预约即可。 【温馨提示】预约成功后,请提前下载安装视频办客户端,并在预约时间基础上提前15分钟进入视频办平台——我的预约在线报到,等待客服人员连接开始办理业务。







